Rohrbiegen und Umformen. Ihr Prozess aus der Just-in-Time-Perspektive
Die 4-RUNNER ist nicht bloß eine Rohrbiegemaschine. Vielmehr handelt es sich bei ihr um eine Multifunktionsmaschine, die Rohre vom Coil richtet, umformt, schneidet und mit variablen Radien biegt. Sie kann Rechts- und Linksbiegungen im Multiradiusverfahren ausführen.
Coilzuführung
Geraderichten
Orbitalschnitt
Fließbohrung
Endenumformen
Biegung
Sägeblatt-Schnitt
Entladung
Coilzuführung Die Rohrbiege- und Umformmaschine ist mit einer Coilzuführung mittels einer angetriebenen Haspel ausgestattet.
Geraderichten Die Rohre werden mittels einer Richtrollenbatterie geradegerichtet
Orbitalschnitt Die Orbitaleinheit schneidet die Rohre für das Ablängen vor.
Fließbohrung Bohrung und Fließbohrung
Umformen Für das Umformen der Rohrenden sind zwei Module verfügbar. Heavy-Ausführung: bis zu sechs Schubstationen oder vier Schubstationen und eine rotierende Station, Light-Ausführung: bis zu drei Schubstationen oder eine Schubstation und eine rotierende Station
Biegungen Rohrbiegen mit festem Radius in der Ebene und Biegungen mit variablem Radius in Freiform. Je nach Design können Sie diese Biegungen integrieren - alles im Prozess und im automatischen Ablauf.
Sägeblatt-Schnitt Sie haben die Wahl zwischen orbitalem Schnitt oder Sägeblatt-Schnitt.
Entladung Il dispositivo di scarico automatico è totalmente integrato nel ciclo di lavoro e gestito dal CN.
Roll- und Streckbiegungen
Umformmodul Heavy
Schneiden und lochen
Roll- und Streckbiegungen
Indem die 4-RUNNER bei Rohren Rollbiege- und Streckbiegeverfahren kombiniert, ermöglicht sie Ihnen höchste Flexiblität und Produktivität. Sie verbindet die Biegegeschwindigkeit mit der Möglichkeit, kurze Strecken zwischen “Kurven” und/oder zwischen “Kurve” und Umformung zu realisieren.
Rechts-oder linksbiegen mit Multiradius
Sie produziert dreidimensional Spiralen oder Spiralen mit mehr als einem Biegeradius sowie Teile mit extrem komplexer Geometrie. Die Geometrie mit flachem Profil des Biegekopfs der 4-RUNNER H1 ermöglicht Links- und Rechtsbiegungen im Prozess mit Multi-Radius.
Variabler Radius
Verkürzen Sie Ihre Zykluszeiten und erweitern Sie Ihr Spektrum um anspruchsvollere Biegungen mit jedem beliebigen mittleren Radius. Das Biegen mit variablen Radien bietet viele Vorteile. Mit einem vollelektrischen, vonVGP3D gesteuerten System erreichen Sie dabei die höchste Präzision.
Werkzeugwechesel
Schnelle Werkzeugwechsel. Die Maschine wird automatisch eingestellt und erfordert keine manuellen Anpassungen.
Rohrumformung - Heavy-Modul
Umformmodul mit sechs Schubstationen oder mit vier Schubstationen und einer rotierenden Station.
Rohrumformung - Light-Modul
Umformmodul mit drei Schubstationen oder mit einer Schubstation und einerrotierenden Station.
InternerorbitalerSchnitt
Kombiniert Geschwindigkeit mit spanfreien Ergebnissen. Der interne orbitale Schnitt schneidet die Rohre vor dem Biegeprozess vor Einfaches Abknipsen der fertigen Teile.
ExternerorbitalerSchnitt
Maximieren Sie die Vielseitigkeit Ihrer 4-RUNNER mit dem externen orbitalen Schnitt. Ideal, wenn der letzte gerade Abschnitt sehr kurz ist oder der Schnitt nahe bei der Umformung liegt.
Sägeblatt-Schnitt
Mit der von einer elektrischen Achse gesteuerten Sägeblatt-Einheit sind Sie beim Schneiden sehr schnell und flexibel.
Bohren und Fließbohren
Sie könneninline bohren und Gewinde schneiden, womit Sie Zeit gewinnen und mit höherer Genauigkeit arbeiten. Das Bohrsystemkannmit Spiral- oderFließbohrernausgestattetwerden.
Gehen Sie beim Arbeiten auf Nummer sicher
Die 4-RUNNER ist CE-zertifiziert und nach strengsten Sicherheitsnormen konstruiert. Sie ist mit allen erforderlichen Sicherheitsfunktionen ausgestattet, die ihre Bediener während des Betriebs schützen.
Sie entscheiden, wie Sie starten.
Wählen Sie die Coil-Versorgung, die am besten Ihre Produktionsanforderungen und Ihre räumlichen Erfordernisse abdeckt: vertikal, horizontal oder Jumbo. Die präzise Bewegung der Rohre wird im Prozess ausgeführt. Der Motor wird in beide Richtungen gesteuert. Sie können die Versorgung auf den Leerlaufmodus schalten, indem Sie diese Funktion im VGP3D-Programm auswählen. Dieses ist voll in die Maschinen-Software integriert.
4-RUNNER TechnischeInformationen
4-RUNNER H1
4-RUNNER H3
Maximaler Ro
Alluminium
12,7 mm x 1,1 mm
22,0 mm x 1,6 mm
Kupfer
12,7 mm x 1 mm
22,0 mm x 1,2 mm
Stahl (R= 360 N/mm²)
10 x 1 mm
14 x 1 mm
Inox-Stahl
10 mm x 0,8 mm
12 mm x 1 mm
Leistungsmerkmale der Maschine
Achsen
bis zu 11
bis zu 11
X-Genauigkeit
± 0,05 mm
± 0,05 mm
Y-Genauigkeit
± 0,05°
± 0,05°
Z-Genauigkeit
± 0,05°
± 0,05°
Stangendurchlauf
14 mm
22,7 mm
MaschinengewichtohneUmformmodul
2.500 kg
2.500 kg
Gewicht des Umformmoduls Light
1.200 kg
Gewicht des Umformmoduls Heavy
1.350 kg
1.350 kg
Verbrauch und Emissionen
Installierte Leistung
19,0 kVA
19,0 kVA
Nennstrom
35,0 A
35,0 A
Durchschnittlicher Verbrauch im automatischen Betrieb
1,90 kWh
1,90 kWh
Stromverbrauch der Maschine im Standby-Modus
0,48 kWh
0,48 kWh
Durchschnittliche äquivalente Emissionen (*)
0,55 kgCO2/h
0,55 kgCO2/h
*Die Schätzung der Emissionen basiert auf einem Koeffizienten von 293,3 gCO2/kWh, wie er im Bericht ISPRA 386/2023 verwendet wird. Dieser Indikator summiert den Mix in der Stromerzeugung in Italien. Er ist nur für Italien gültig und soll Kunden eine Vorstellung von der Größenordnung der verbrauchsbedingten Emissionen vermitteln.
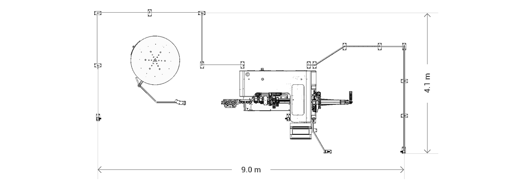
4-RUNNER H1 Layout der Rohrbiegemaschine.
4-RUNNER H1 Layout der Rohrbiegemaschine mit Umformmodul.
4-RUNNER H3 Layout der Rohrbiegemaschine.
4-RUNNER H3 Layout der Rohrbiegemaschine mit Umformmodul.